易记网址:RT688.COM

配资利率   |     帮助中心   |     立即登录   |     免费注册

现在位置: 首页 > 新闻报道 > “全聚德连亏三年”上热搜!去年净亏超2.7亿元,网友:亏本很正常,味道一般价格还高

“全聚德连亏三年”上热搜!去年净亏超2.7亿元,网友:亏本很正常,味道一般价格还高

2023/4/11 10:43:00

全聚德连亏三年,公司持续经营能力存在不确定性
打开网易新闻 查看更多视频
全聚德连亏三年,公司持续经营能力存在不确定性

中国经济周刊—经济网讯 4月10日晚间,中国全聚德(集团)股份有限公司披露2022年年报显示,去年全聚德的营收约为7.19亿元,同比(较上年同期)下滑24.16%;归属于上市公司股东的净利润约为亏损2.78亿元,亏损幅度同比扩大76.86%;基本每股亏损0.9元/股。

据悉,这已是全聚德连续第三年亏损。2021年,全聚德亏损约1.57亿元,2020年亏损约为2.62亿元。全聚德在年报中坦言:“最近一年审计报告显示公司持续经营能力存在不确定性。”4月11日,话题“全聚德连亏三年”登上了社交媒体热搜榜,引发网友讨论!

有网友称:“感觉太正常了,我到北京十几年的时间里就去过一次,说实话味道一般,价格又不低”“全聚德这样已经失去生命力的品牌,服务不咋滴,可惜了”“卖那么贵还能亏本”“我家附近的全聚德经常去吃,挺好吃的,可别关了呀”“味道一般,服务态度傲慢”“调一下价格,有点贵,普通人有点消费不起来”“有的门店做的还不错,但是贵啊,性价比不高”“这说明消费复苏还需要时间,熬不过去就要减少经营规模了”“百年老品牌,要传承也要有创新,而且不能太脱离群众,不能贵到只能让少部分人群消费。烤鸭这种食品不是回购率很高的产品,想要转亏为盈,得把亲民属性加上,并不是老字号价格就得飘在天上”。

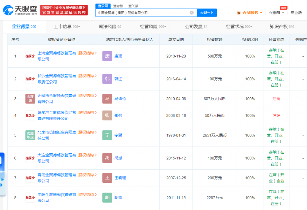
天眼查App显示,中国全聚德(集团)股份有限公司成立于1994年6月,于2007年11月上市,其注册资本约3.08亿人民币,法定代表人、董事长为吴金梅,由北京首都旅游集团有限责任公司、李明军、王建国等共同持股。对外投资信息显示,该公司持股41家企业,其中存续状态的有32家,多为全聚德在北京、江苏、浙江、上海等地成立的餐饮公司,其中多家拥有分支机构。同时,该公司在北京还有19家分支机构,其中7家已注销。

打开网易新闻 查看精彩图片
打开网易新闻 查看精彩图片
打开网易新闻 查看精彩图片

新媒体编辑:崔晓萌

一审:崔晓萌 二审:何颖曦 三审:王新景





服务热线

400-6558-138

工作时间:08:00 - 20:00
周一至周五(法定节假日除外)
周末时间:09:00 - 18:00

安卓app下载

苹果app下载
知道创宇云安全

Copyright © 2008-2020 【启盈配资】广东天雄投资控股有限公司 粤ICP备18158468号-1 股市有风险,投资需谨慎